發表時間: 2023-02-05 14:52:03
作者: 石油化工設備維護與檢修網
瀏覽: 1865
冷凝器是制冷裝置的主要熱交換設備之一。它的任務是將壓縮機排出的高壓過熱制冷劑蒸氣,通過其向環境介質放出熱量而被冷卻、冷凝成為飽和液體,甚至過冷液體。
按照冷凝器使用冷卻介質和冷卻方式的不同,有水冷式、空氣冷卻式和水-空氣冷卻三種。
冷凝器按冷卻方式:
空氣冷卻式、水冷式、蒸發冷卻式(水-空氣冷卻)
空氣冷卻式冷凝器中根據管外空氣流動方式:
自然對流空氣冷卻式冷凝器、強制對流空氣冷卻式冷凝器
一、水冷式冷凝器
這種型式的冷凝器用水作為冷卻介質,帶走制冷劑冷凝時放出的熱量。冷卻水可以一次性使用,也可以循環使用。
用循環水時,必須配有冷卻塔或冷水池,保證水不斷得到冷卻。根據其結構不同,主要有殼管式和套管式以及現在多用的板式換熱器。

臥式殼管式冷凝器
1. 殼管式冷凝器:
制冷裝置中使用的制冷劑不同,其結構特點也有所不同。一般立式殼管式冷凝器適用于大型氨制冷裝置,而臥式殼管式冷凝器則普遍使用大、中型氨或氟利昂制冷裝置中。管板與傳熱管的固定方式一般采用脹接法,以便于修理和更換傳熱管。
2. 臥式殼管式冷凝器特點:
傳熱系數高,冷卻水用量少,操作管理方便;但是對冷卻水水質 要求高。目前大、中型制冷裝置普遍采用這種裝置。

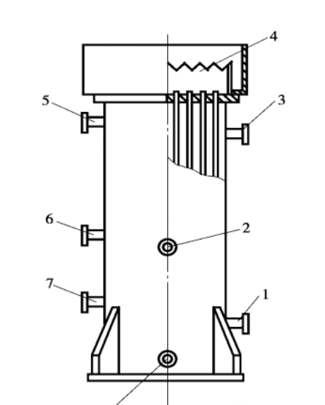
立式管殼式冷凝器
1—出液管;2—壓力表接頭;3—進氣管;4—配水箱;5—安全閥接頭;6—均壓管;7—放空管;8—放油管
3. 套管式冷凝器:
它是由不同直徑的管子套在一起,并彎制成螺旋形或蛇形的一種水冷式冷凝器。如圖所示,制冷劑蒸氣在套管間冷凝,冷凝液從下面引出,冷卻水在直徑較小的管道內自下而上流動,與制冷劑成逆流式,因此傳熱效果較好。

套管式冷凝器
4. 板式冷凝器:
板式冷凝器是由一組不銹鋼波紋板串接而成,在傳熱板兩側形成冷、熱流體通道,在流動過程中通過板壁進行換熱。

換熱版厚度約為0.5mm左右,板間距一般為2-5mm。
板式換熱器體積小,重量輕,傳熱效率高,所需制冷劑充注量少,可靠性高近年來得到廣泛應用。但其內容積小,冷凝后的液態制冷劑應及時排除,對冷卻水質要求高,難以清洗,內部滲漏不易修復。
冷卻水上進下出,制冷劑蒸氣從上面進入,液態制冷劑從下面流出。
二、空氣冷卻式冷凝器
這種冷凝器以空氣為冷卻介質,制冷劑在管內冷凝,空氣在管外流動,吸收管內制冷劑蒸氣放出的熱量。由于空氣的換熱系數較小,管外(空氣側)常常要設置肋片,以強化管外換熱。分為空氣自由流動和空氣強制流動兩種型式。
1. 空氣自由流動的空冷冷凝器:
該冷凝器利用空氣在管外流動時吸收制冷劑排放的熱量后,密度發生變化引起空氣的自由流動而不斷地帶走制冷劑蒸氣的凝結熱。它不需要風機,沒有噪聲,多用于小型制冷裝置。如下圖所示:

空氣強制流動的空冷冷凝器:如下圖所示,它由一組或幾組帶有肋片的蛇管組成。制冷劑蒸氣從上部集管進入蛇管,其管外肋片用以強化空氣側換熱,補償空氣表面傳熱系數過低的缺陷。
在結構方面,沿空氣流動方向的管排數愈多,則后面排管的傳熱量愈小,使換熱能力不能得到充分利用。為提高換熱面積的利用率,管排數以取4-6排為好。

2. 空氣冷卻式冷凝器與水冷式冷凝器比較:
(1)在冷卻水充足的地方水冷式設備的初投資和運行費用均低于風冷式;
(2)由于夏季室外空氣溫度較高,冷凝溫度一般可達50℃,為了獲得同樣的制冷量,風冷式設備制冷壓縮機的容量約需增大15%;
(3)采用風冷式冷凝器的制冷設備系統組成簡單,可緩解水源緊張;
三、蒸發式冷凝器
1. 蒸發式冷凝器:
以水和空氣作為冷卻介質。它利用水蒸發時吸收熱量使管內制冷劑蒸氣凝結。水經水泵提升再由噴嘴噴淋到傳熱管的外表面,形成水膜一部分吸熱蒸發變成水蒸汽,然后被進入冷凝器的空氣帶走。
未被蒸發的水滴則落到下部的水池內。箱體上方設有擋水柵。用于阻擋空氣中的水滴散失。蒸發式冷凝器結構原理如圖所示。

2. 蒸發式冷凝器特點:
(1)利用水汽化帶走冷凝熱,其所消耗的冷卻水量只是補給的散失水量,冷卻水耗量少;
(2)蒸發式冷凝器進口空氣濕球溫度對換熱量影響很大。同樣的冷凝溫度和風量,進口濕球溫度越小,冷卻水蒸發量越大,冷凝效果越好;
(3)蒸發式冷凝器耗水量小,所需空氣量不足風冷式1/2,因此特別適合于干燥缺水地區。